国家三级甲等综合医院
全部
搜索
首页
医院概况
医院简介
领导班子
医院荣誉
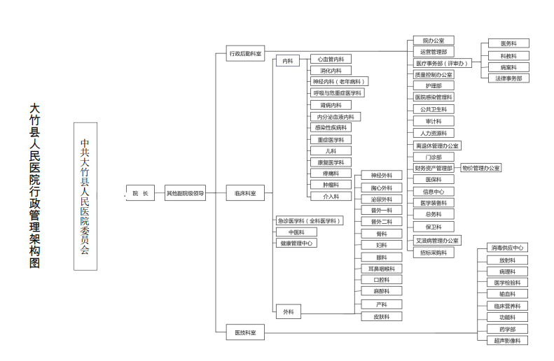
组织架构
设备介绍
医院新闻
新闻动态
党建之窗
党委概况
党委动态
党风廉政
专项活动
省政府信息
患者服务
科室介绍
专家介绍
就医流程
住院流程
住院导航
健康体检
医保政策
挂号小知识
便民门诊提示
复印须知
残疾鉴定
综合门诊
检验报告流程
精麻药品
门诊指南
门诊退费
特殊疾病
健康管理中心
中心简介
中心公告
体检指南
体检套餐
健康咨询
医务管理
相关文件制度
教育培训
招生简章
通知公告
注意事项
医学园地
健康知识
护理园地
护理管理
护理常识
护理天地
医院文化
文化生活
院旗院徽
医院之歌
职工风采
竹医院报
通知公告
招聘公告
招标公告
联系我们
联系我们
首页
医院概况
医院新闻
党建之窗
患者服务
健康管理中心
医务管理
教育培训
医学园地
护理园地
医院文化
通知公告
联系我们
组织架构
医院简介
领导班子
医院荣誉
组织架构
设备介绍